
来源 | 伯虎财经(bohuFN)
作者 | 楷楷
今年以来,AI创投圈掀起了新一轮的上市竞速赛,如今,终于轮到。
近日,《华尔街日报》引述知情人士报导称,AI初创企业月之暗面正在洽谈新一轮融资,融资金额或达数亿美元,估值可望达40亿美元。与此同时,其计划于明年下半年启动IPO。
月之暗面已不止一次传出IPO消息,但与此前模糊的市场猜测不同,此次多家媒体不仅披露了具体估值金额,还点名IDG资本、腾讯等意向投资方,传递出更明确的信号。
目前,月之暗面并未对这一消息作出官方回应。不过,“”中的智谱AI、MiniMax已先后冲击上市,月之暗面紧随其后,也并不令人意外。
对于月之暗面来说,如今大厂所带来的压迫感与日俱增,再加上不断发酵的“AI泡沫”争议,AI初创企业的上市窗口期已经开始进入“倒计时”。
月之暗面不想下牌桌,杨植麟必须抓紧时间证明自己。
在AI创业浪潮的前半程,“AI六小龙”一度春风得意。其中,月之暗面更因为推出了首个真正“出圈”的国产大模型应用,而备受资本市场的关注。
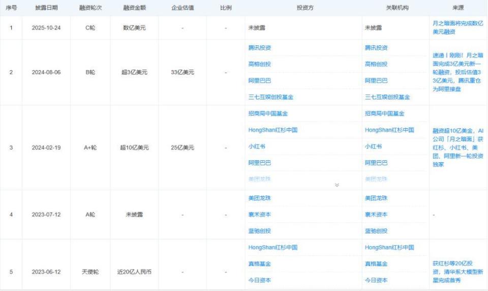
天眼查显示,从2023年6月至今,月之暗面共计完成5轮融资,根据公开数据,目前已拿下超30亿元融资,背后的投资方包括红杉中国、今日资本、真格基金等知名机构。

不过,距离月之暗面的上一轮融资,已经过去了一年多的时间,“月亮”底下早已暗流涌动。
2024年底,金沙江创投前主管合伙人张予彤被曝在月之暗面创立时未披露利益关联,并以极低成本获得14%股份,引发仲裁纠纷。
此外,知名科技博主AI Dance在小红书透露,自2025年春节以来,月之暗面已有三位产品经理相继离职。月之暗面创始人兼 CEO杨植麟在谈及“AI 人才回流大厂”现象时表示,“这是正常的,我们也会主动做业务减法”。
不过,比起这些“波澜”,的“破圈”则带来了月之暗面 Kimi 教程更大的影响。
2025年春节,DeepSeek在没有任何推广和投流的背景下,凭借着低成本、高性能的开源模型,在两周时间内收获了过亿的用户规模,超过ChatGPT成为全球增速最快的AI应用。
这也让业界开始反思,过去一年以来,AI大模型行业激进的投放策略,到底有没有意义。月之暗面在享受资本市场瞩目的同时,似乎也不知不觉被资本裹挟着前行。
杨植麟曾在访问中提到,月之暗面首轮融资的时间窗口非常短,“我们在2023年2月开始集中做第一轮融资。如果延迟到4月,基本没机会了,真正窗口期就是一个月” 。
首轮融资得来不易,这也在无形中催促月之暗面,尽快拿出一张能让投资人满意的成绩单。为此,杨植麟定下多个方向的目标:技术上,深入无损长文本、视频生成、多阶段推理;产品上,追求DAU增长;加大商业化力度。
其中,占领用户心智也被视为最容易被市场和投资人看见的增长指标。根据APPGrowing数据,自2024年3月开始,Kimi每月广告投放都达到上千万元,10月-11月更超过2亿元。
大规模投流的效果是显著的,2024 年3 月,Kimi超过了文小言,成为当月月活最高的原生AI 应用。
但随着月之暗面暂缓投流,用户也开始持续流失。QuesMobile数据显示,2025年9月,Kimi的月活规模仅为967万,而豆包和Deepseek则已经破亿,两者的量级差距被迅速拉开。

某种程度来看,靠资金推动的用户规模只是“虚假指标”。虽然,大模型市场的格局还未成定局,但面对互联网大厂在资金、产品、生态等方面的饱和式进攻,月之暗面很难有胜算。
互联网大厂和初创企业之间,本就是两个完全不同量级的生态体系。即便月之暗面的技术实力不落下风,但双方比拼的早已不仅仅是模型能力,更是对用户需求的深度理解和生态协同。
以豆包为例,其除了有字节“大力出奇迹”的资金支持之外,还有覆盖娱乐、社交、工具等多场景的产品生态,用户可以在流量闭环内实现自然增长。
除此以外,字节的社交基因也让豆包更了解用户、更接近用户。一个颇有意思的现象是,在字节没有投流的背景下,豆包的新功能也频频出现在抖音、小红书等平台的用户自发分享中,比如豆包监督孩子写作业、豆包让照片动起来等功能,豆包本身就是流量密码。

根据《晚点LatePost》报道,一位月之暗面员工曾回忆道,“面对字节这样的敌人,公司一度士气低落。”
零一万物创始人李开复直言不讳地道出了残酷现实:“大家都看得很清楚,只有大厂能够烧超大模型。” 他认为中国市场最终可能只剩下DeepSeek、阿里和字节三家大模型公司。
打不过就换一个战略,意识到这一点的“AI六小龙”开始走向分野:百川智能转向医疗垂类;零一万物转向ToB领域;MiniMax转向视频/语音赛道;智谱 AI则深耕金融政企领域。
不过,月之暗面却是一个“例外”。Deepseek的出现虽然打破了“投流换增长”的虚假泡沫,但也让月之暗面意识到技术的重要性,更加坚定自主研发基座模型。
Kimi研究人员杜羽伦在接受记者采访时表示,“从研究者的角度,DeepSeek的出现对我们是一件好事,让我们更加能够以长期主义视角看待实现的梦想。”
在这之后,杨植麟做出三个关键决策,一是集中资源投入新模型K2;二是调整商业化模式,转向代码能力与通用Agent,聚焦专业用户;三是开源。
今年初,月之暗面大幅缩减广告投放,其不再更新 K1 系列的模型,而是集中资源投入基础算法与新模型 K2。据悉,就连杨植麟本人也亲自下场写代码。
7月,月之暗面发布了Kimi ,是全球首个万亿参数、320亿激活的MoE(混合专家模型)架构模型。数据显示,该模型在SWE Bench Verified、Tau2、AceBench等基准性能测试中,均达到开源模型的SOTA成绩(当前最高水平)。
在细分维度上,其编程能力仅次于Claude 4 sonnet,智能体能力仅次于Claude 4和GPT-4.1,数学推理能力则在MATH、AIME、GPQA-Diamond等测评中得分最高。

(图源:月之暗面)
在经历了属于自己的“DeepSeek时刻”后,月之暗面开始调整自己的商业化策略。首先,同步开源Kimi K2模型,在此之前,杨植麟曾强调闭源模型在技术理想主义方面的重要性。
然后,强化代码与Agent能力。杨植麟认为,“很多Agent产品能端到端产生价值,如果只是闲聊、查天气,商业价值没那么大,如果是Agent专业用户,本身有很好的生产力价值。”
事实上,Kimi K2模型在成本上也很有优势。11月,月之暗面发布了最新的开源巨模型Kimi K2 Thinking,其在推理、编码能力的测试上依然保持领先。
CNBC报道称,其训练成本仅为460万美元,比年初引发轰动的DeepSeek V3(约560万美元)还低。杨植麟否认了这一成本,他表示训练成本很大部分是研究和实验,很难量化。
不过,Kimi K2 Thinking的API调用成本确实不高,输入和输出成本分别为0.15美元/百万Token和2.5美元/百万Token,与持平,仅为GPT-5、Claude 4的四分之一到六分之一。在一些开源模型排行榜上, K2 Thinking更超越了GPT-5,一度登顶全球第一。
这种“”的策略,也可以视为“用口碑换用户”,相较于通过投流换取用户的付费心智,专业用户更愿意为优质工具付费,做开发者与重度用户的生意也更有“钱景”。
除此以外,长文本早已成为月之暗面内部共识,这要求底座对“密集中间推理”与“记忆一致性”保持完全可控,如果月之暗面不做基座模式,很难稳定把控这类复杂工作流的端到端体验。
所以,月之暗面坚守To C 市场并非固执,而是在深思后的战略选择,它试图在技术理想与商业现实之间找到平衡点。
只是,相较于“六小龙”转向细分赛道的选择,这也意味着月之暗面选了一条更难走的路。
首先,尽管K2模型的推理成本大幅下降,但月之暗面选择了开源路线,这也意味着算力与服务调用成本依然高企。虽然专业用户的付费意愿更高,但用户规模和转化效率能否支撑当下的商业模式,这依然需要经由市场验证。
其次,追求技术极致是一条不能回头的路,月之暗面暂缓投放,坚持做基座模型,也相当于主动牺牲短期流量增长,以换取未来的长期技术竞争力。
但这也意味着Kimi的用户基础可能会持续流失,目前其用户心智尚未成熟,流量入口又被其他AI应用抢占,一旦错过前期积累用户的窗口期,再好的技术,也怕没有观众。
况且,Kimi K2模型的实力很强,但其他对手也在持续迭代,AI 技术本就是一场没有终点的长跑。因此,对现阶段的月之暗面来说,“输血”和“造血”同样重要。

过去一年,月之暗面在商业模式上也有不少调整,重新出海成为关键一环。
此前,月之暗面曾在海外市场低调上线角色扮演应用Ohai和AI生成视频工具Noisee,但并没有带来太大水花,很快便停止运营。
今年,月之暗面重启了出海计划。9月,月之暗面在海内外市场上线产品——“OK Computer”,同时推出了会员订阅计划:海外分为19/39/199美元三档,国内则是49/99/199元三档,主要围绕K2 Turbo模型、深度研究和OK Computer三项服务。

据中华财经网消息,有月之暗面内部人士透露,“公司预期在一年内,通过国内外C端市场实现约1亿美元的收入。”可以看出,月之暗面对这一次的商业化尝试也较为乐观。
此外,月之暗面也开始持续探索法律、金融、科研等需要快速分析和总结长篇文档的领域,比如跟财新传媒达成合作,为用户提供更专业、优质的财经信息。
不过,在这些赛道之上,月之暗面还要面临诸多强劲的竞争对手。除了字节、阿里等国内大厂,以及OpenAI、谷歌等全球巨头的降维打击之外,还有“AI六小龙”在各自垂类领域的领先优势,月之暗面要从中突围,注定会是一条艰难的道路。
月之暗面要直指技术的最高处,就要做好不容易被市场理解的觉悟。在IPO的曙光前,其能否在成本与技术之间找到平衡点,将决定它能否成为中国大模型赛场上的长跑选手。
毕竟,真正决定一场比赛成败的,往往不是别人有多强,而是能否战胜自己。
文章封面首图及配图,版权归版权所有人所有。若版权者认为其作品不宜供大家浏览或不应无偿使用,请及时联系我们,本平台将立即更正。
发布者:Ai探索者,转载请注明出处:https://javaforall.net/270545.html原文链接:https://javaforall.net
